被顶格处罚!优策投资是如何违规的?17只在青岛注册的关联私募基金仍在运行
鹰眼IPO观察 | 2025-12-14 20:43:35 原创

12月12日,证监会披露浙江证监局对浙江优策投资管理有限公司(下称“优策投资”)及相关责任人员的行政处罚决定,合计罚款金额达3525万元。经查,优策投资及其实际控制人存在违规挪用基金财产、向监管部门报送虚假信息等严重违反私募基金法律法规的行为,其中公司被罚款2100万元,3名相关责任人员合计罚款1425万元,实际控制人被采取终身证券市场禁入措施。

优策投资成立于2016年12月,2017年11月21日完成基金业协会登记备案,核心业务为私募证券投资基金管理。
根据浙江监管局披露,2018年至调查日,优策投资先后成立并管理优策长实1号私募证券投资基金、优策长秀1号私募证券投资基金、优策长秀2号私募证券投资基金等8只基金产品(下称“募集层产品”);8只募集层产品的全部基金财产分别投向优策投资成立并管理的优策长实私募证券投资基金(曾用名“长实私募证券投资基金”)、优策长秀私募证券投资基金、优策月月盈3号私募投资基金等3只基金产品(下称“投资层产品”)。此外,某外部私募基金产品亦投向优策月月盈3号私募投资基金。3只投资层基金产品均投向银行协议存款。
2020年4月至2024年6月期间,在实际控制人黄巍的决策与安排下,优策投资通过网银转账的方式,违规将3只投资层产品存放于银行协议存款账户的资金,转移至基金产品托管账户之外的其他账户。截至2024年7月2日,上述被违规转出的资金中,仍有9.55亿元未归还至对应基金账户。
在资金违规转移的四年多时间里,优策投资始终隐瞒基金财产被挪用的事实,不仅向投资者提供虚假的资产状况、收益数据及产品净值信息,还向基金业协会报送了这8只募集层产品与3只投资层产品的不实备案及运营信息。值得注意的是,公司实际控制人信息也存在虚假记载:2019年3月,优策投资实际控制人已变更为黄巍,但自该月起至调查结束,公司向基金业协会持续报送的实际控制人信息仍为李晓晴。
据相关报道,2024年7月,投资者发现优策投资旗下私募基金难以兑付。2019年4月至2023年5月,优策投资与长安银行签署《协议存款合同》,将“优策长实”、“优策长秀”、“优策月月盈3号”,三只产品的募资存入长安银行宝鸡金陵支行、长安银行宝鸡科技支行私募基金专户。
为保障资金安全,双方在协议中特别约定:“根据资金监管要求,优策投资不开通网银,不使用该存款开展任何金融业务。”但长安银行向投资者提供的存款账户交易明细显示,自2019年起,上述专户便存在频繁的资金进出记录,最短留存4天、最长留存一周,四年间累计资金进出规模高达百亿元。
更关键的是,这些资金的实际流向并非合同约定的用途,而是最终转入了宝鸡凤凰岭股权投资管理有限公司、西安畅融投资管理有限公司及宝鸡远大资产管理有限公司三家关联主体账户。对此,长安银行方面回应称,优策投资后续与银行签署了补充协议,并依据该补充协议“申请开通了网银”,为资金违规转移提供了操作通道。
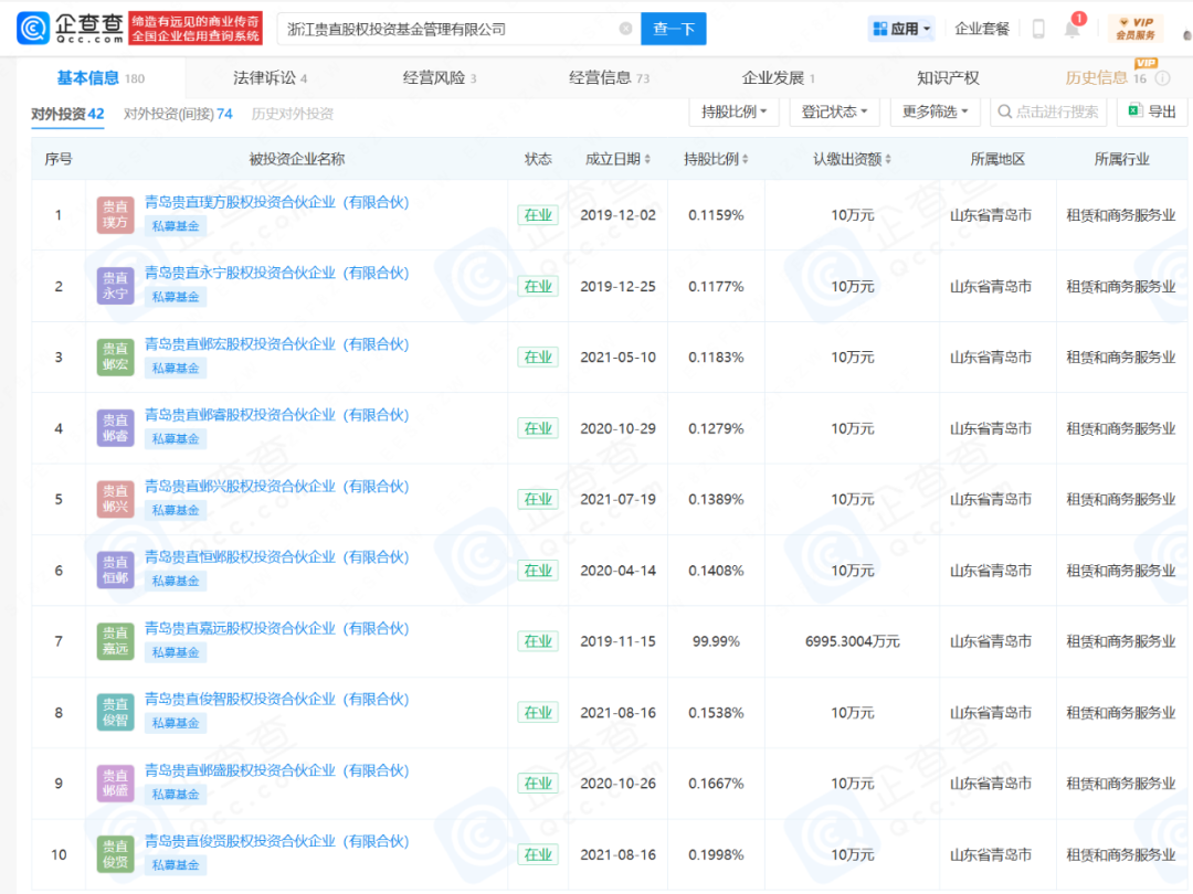
股权穿透信息显示,优策投资的大股东为杭州连芯投资管理合伙企业(有限合伙)(下称“连芯投资”),该合伙企业的实际控制人为李晓晴。值得关注的是,连芯投资还控制着另一家私募基金公司——浙江贵直股权投资基金管理有限公司(下称“浙江贵直”),其法人代表为顾晓东。企查查数据显示,浙江贵直作为合伙人在青岛设有17只私募基金,且这些基金目前仍处于正常运营状态,其投资方向大多集中于陕西、上海两地的企业。

(大众新闻·经济导报记者 赵帅)
责任编辑:赵帅
