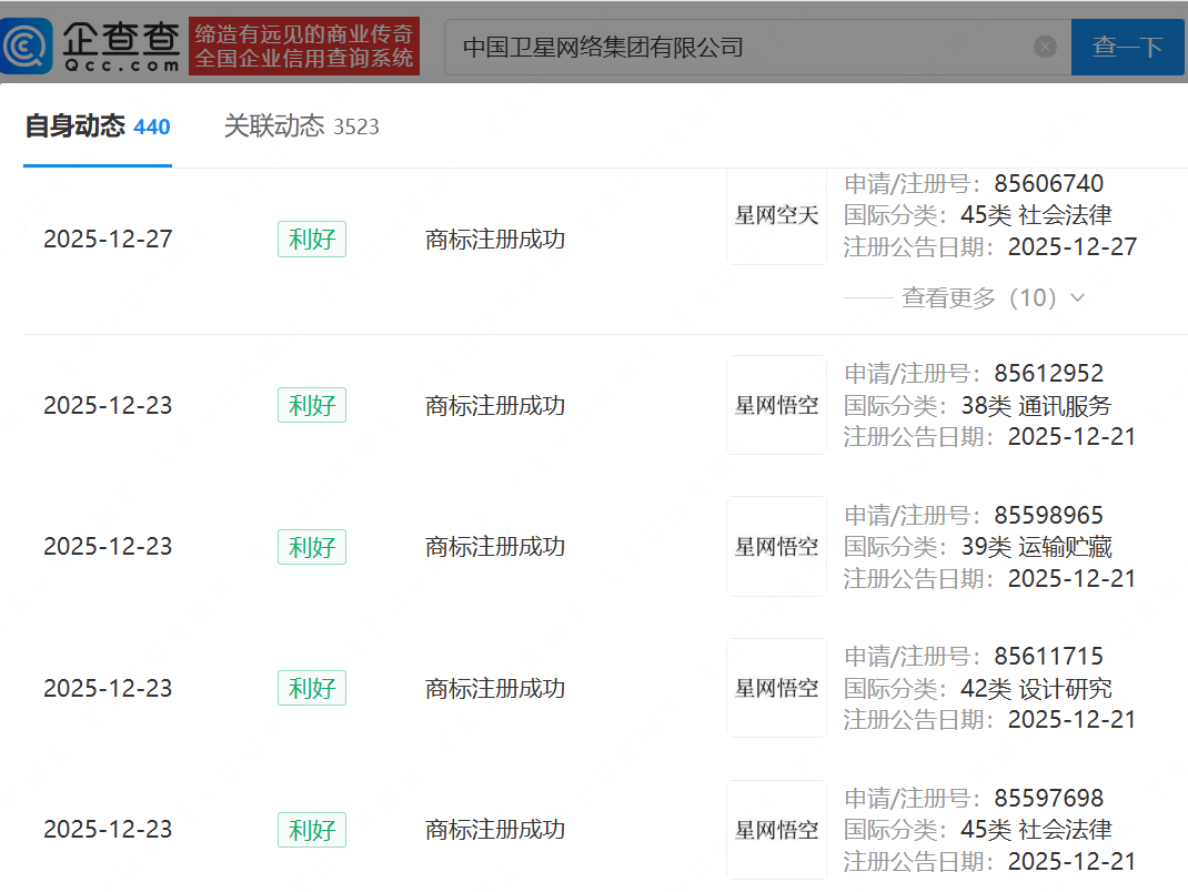
企查查APP显示,近日,中国卫星网络集团有限公司成功注册星网空天、星网经纬、星网纵横等星网系列商标,国际分类涉及社会法律、设计研究、通讯服务等。(企查查)
中国卫星网络集团注册星网系列商标获批企查查 2026-01-05 16:57:36企查查APP显示,近日,中国卫星网络集团有限公司成功注册星网空天、星网经纬、星网纵横等星网系列商标,国际分类涉及社会法律、设计研究、通讯服务等。(企查查)责任编辑:武秀英