鸭鸭羽绒服“双标双码”引争议,其多个产品曾被抽查不合格
大众报业·齐鲁壹点 2026-01-14 10:36:52
近日,有消费者反映,网购了一件鸭鸭羽绒服,收到货后,发现一件衣服上有两个疑似商标的标识,且标记的尺码还不一样。
1月10日,鸭鸭羽绒服品牌方回应极目新闻记者,消费者反映的情况,并非两个商标,而是一个设计元素标识和一个商标。至于尺码不一致的问题,已第一时间作为典型案例通报相关部门,今后将加强自查自纠自检,严格生产流程。
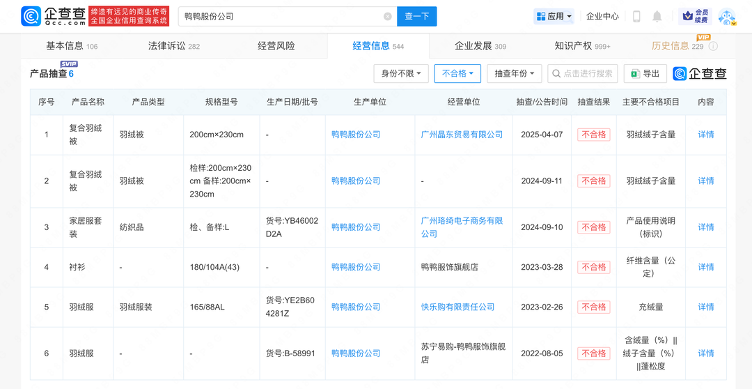
企查查APP显示,鸭鸭羽绒服关联公司鸭鸭股份公司成立于2000年5月,法定代表人为樊继波,注册资本1.05亿人民币,该公司曾多次因侵害商标权纠纷发起诉讼。值得一提的是,其多个产品曾被抽查不合格,包括羽绒被、羽绒服装等。



(齐鲁晚报·齐鲁壹点客户端编辑 韩爽 综合极目新闻、企查查等)
责任编辑:韩爽
