李湘全平台社交账号被禁止关注,近期与王岳伦合开公司,名下超10家公司已注销
大众报业·齐鲁壹点 2026-01-16 17:26:18
1月16日,媒体报道李湘全平台账号被禁止关注引发热议。数据显示,李湘在抖音有421万粉丝,在微博上有2456.2万粉丝,在小红书上有48.7万粉丝。截至1月16日11时,李湘视频平台粉丝数为421万,近30日掉粉1.46万。商业化水平显示,其1-20s、21-60s、60s以上视频广告报价分别为20万元、25万元、30万元。

当日,极目新闻记者联系小红书客服,接线人员表示,会记录相关情况,进行核实处理。抖音平台客服表示,无法查询他人账号被禁止关注的具体原因。微博提示消息显示,“该用户因违反法律法规或《微博社区公约》被禁止关注”。
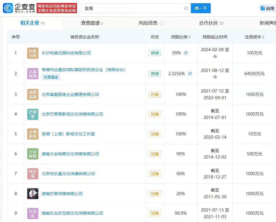
据企查查信息显示,李湘名下超10家公司已为注销状态,包括李湘(上海)影视文化工作室、湖南芒果传媒有限公司等,行业涉及租赁和商务服务业、文化、体育和娱乐业,李湘多担任股东、执行董事、总经理等身份。
近日,有媒体发现,李湘多平台账号被禁止关注。企查查APP显示,当前李湘对外投资有长沙利美互娱科技有限公司、常德市达晨创鸿私募股权投资企业(有限合伙)等公司,其中北京真爱医缘企业管理有限公司、北京芒果果影视文化传媒有限公司、李湘(上海)影视文化工作室等多家已注销。2025年8月,李湘与王岳伦合资成立湖南尽开颜影视传媒有限公司,由李湘持股99%、王岳伦持股1%并担任法定代表人职务。


(齐鲁晚报·齐鲁壹点客户端编辑 韩爽 综合极目新闻、企查查等)
责任编辑:韩爽
