新华保险一分支机构“给予投保人合同外利益”被罚,山东分公司2025年客户旅游项目总支出385万元
产经观察 | 2026-01-20 18:41:40
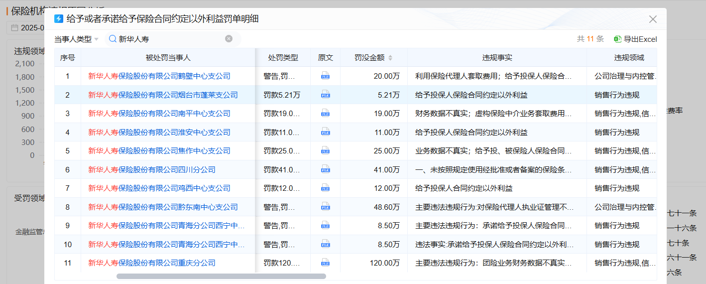
日前,国家金融监督管理总局烟台监管分局公布的行政处罚信息显示,新华人寿保险股份有限公司(以下简称“新华保险”)烟台中心支公司和两家支公司分别被查获“编制虚假财务资料”、“给予投保人保险合同约定以外利益”、“唆使、诱导保险代理人进行违背诚信义务活动,代理人管理不到位”的违法违规行为,三家机构合计被处以罚款18.68万元处罚。
与此同时,新华保险烟台中心支公司时任副总经理王世娜被警告并罚款1.74万元,新华保险烟台市蓬莱支公司时任经理孙贻青被警告并罚款1.09万元,新华保险烟台市龙口支公司时任经理高凡钧被警告并罚款1万元。

值得注意的是,“给予投保人保险合同约定以外利益”行为是新华保险高发的违法违规行为之一,该公司多次因该项违法行为被罚。据企业预警通提供的信息显示,最近一年里,在新华保险受到监管部门处罚的分支机构中,其中11家分支机构涉及“给予或者承诺给与保险合同约定以外利益”违法行为。
据了解,“给予或者承诺给予投保人、被保险人、受益人保险合同约定以外的保险费回扣或者其他利益”属于保险行业违法违规事项,是历年监管部门打击处罚的重点。例如,某保险公司下发 2019 年 6 月业务推动方案,业务竞赛奖励为“内蒙古草原游”名额。2019年9月,该保险公司组织“内蒙古草原游”活动,费用1800元/人,出游人数共120人。经查,该保险公司客户韩某等人参加“内蒙古草原游”活动, 该公司存在给予投保人保险合同约定以外的利益行为。该保险公司被监管机关处以罚款12万元处罚。
据记者不完全统计,新华保险山东分公司2025年公布的客户旅游项目或以研学、考察、参访名义进行的旅游项目共7个,旅游目的地包括西藏、新疆、深圳、北京、延安、青岛、胖东来,总费用支出合计385.03万元。
此前,2025年9月份,新华保险山东分公司发布的深圳之旅服务项目成交结果公告显示,某旅游公司中标该公司上述采购项目,成交总价为95.84万元。
招标公告披露,新华保险山东分公司客户深圳之旅服务项目预计参与人数247人,人均费用3900元,最高限价96.33万元。该项目的服务期为2025年9月中下旬三天两晚,选定的供应商需提供物料布展、会议组织、游览参观、往返机票、接送站安排、酒店会场协调、酒店住宿及用餐、摄影摄像等服务。
2025年9月份,新华保险山东分公司公布的西藏游项目成交公示显示,该项目的第一成交候选人为某旅游公司,成交金额为32.13万元。
招标公告披露,新华保险山东分公司上述西藏游项目“拟采购1家供应商,提供四飞九日游(九日八晚),包含交通费、住宿费、餐饮费、景点门票费、讲解费、保险费等所有与旅行相关的费用”。
2025年5月份,新华保险山东分公司公布的延安红色之旅项目成交公示显示,该项目的第一成交候选人为某旅游公司,成交金额为163.39万元。本项目的采购内容为“供应商提供组织不少于4天3晚的延安红色游学行程,包含交通费、住宿费、餐饮费、景点门票费、讲解费、保险费等所有与游学活动相关的费用。”
2025年4月份,新华保险山东分公司发布的新疆游服务项目招标公告披露,该公司拟“组织客户进行新疆双飞八日游(八日七晚),具体日期以通知时间为准。预计参加人数110人,总预算14.3万元。”
2025年3月份,新华保险山东分公司公布的胖东来游学项目成交公示显示,该项目的第一成交候选人为山东某旅游社,成交金额为14万元,采购内容为“供应商提供组织胖东来研学(三天两晚)活动,包括当地交通、住宿、用餐、讲解、讲座、会议室、保险等服务”。
2025年2月份,新华保险山东分公司发布的高端客户参访项目招标公告披露,该公司拟组织山东各地高端客户至北京同仁堂及北京华大基因实验室进行参访,参访时间暂定2025年3月份,共分3~4批客户参访,每批次参访三天两晚。预计总人数500人,总预算125万元。
2025年2月份,新华保险山东分公司公布的青岛考察培训项目成交公示显示,该项目的第一成交候选人为山东某文化传媒公司,成交金额为64.20万元,采购内容为“供应商提供活动组织工作,包括住宿、就餐、交通、会议等服务”。
责任编辑:曲昂
