哪吒汽车所持销售公司20亿股权被冻结,目前仍在寻求“自救”
大众新闻 李振兴 2025-07-02 13:56:53原创
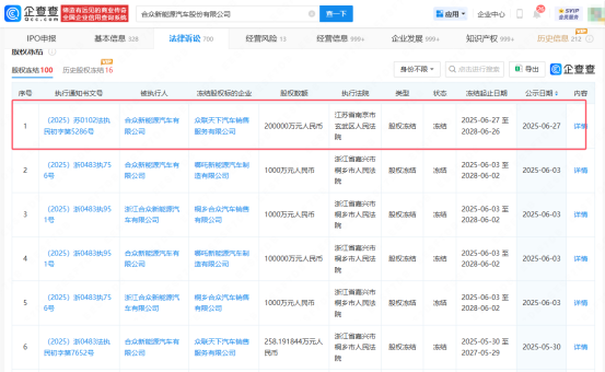
近日,哪吒汽车关联公司即合众新能源汽车股份有限公司新增一则股权冻结信息,该公司所持众联天下汽车销售服务有限公司20亿股权被冻结,冻结期自2025年6月27日至2028年6月26日。

据悉,众联天下汽车销售服务有限公司成立于2018年,注册资本20亿元人民币,实缴15亿元人民币,企查查股权穿透显示,该公司由合众新能源汽车股份有限公司全资持股。

6月24日,众联天下汽车销售服务有限公司曾发生工商变更,刘磊卸任法定代表人、董事、经理,由方运舟接任。后者系合众新能源汽车股份有限公司股东(0.7%)、法定代表人、董事长。
6月19日,企查查APP显示,合众新能源汽车股份有限公司被申请破产一案更新,6月19日新增破产案件,管理人机构为浙江子城律师事务所,经办法院为浙江省嘉兴市中级人民法院。
图片来源:大象新闻
值得一提的是,在本次股权冻结发生后,6月30日,合众新能源管理人发布《合众新能源汽车股份有限公司意向投资人预招募公告》,面向社会预招募意向投资人,并称,哪吒汽车从2024年11月开始停产,至今8个月,目前产线设备运转正常,仍然保留包括管理团队与核心技术人员在内的400余名员工,具备继续生产经营条件。
根据哪吒汽车所提供的财产状况说明及初步调查结果,截至2025年5月1日,哪吒汽车的资产构成主要包括固定资产、机器设备、知识产权以及应收账款等项目。
其中,固定资产涵盖了位于浙江省桐乡市经济开发区的一块工业用地,该土地面积为350亩。机器设备方面,包括了车间内的生产线集成设备、生产模具及工装、运输工具、实验设备等。知识产权方面,公司拥有自主开发的软件产品以及注册商标“哪吒汽车”等。
对外投资方面,哪吒汽车还有江西宜春和广西南宁两个国内生产基地,以及安徽桐城、凤台、凤阳三个零配件工厂,在海外投资有泰国工厂、印尼工厂,均为CKD模式(全散件模式出口)。
此前,泰国媒体曾报道称,鉴于哪吒汽车的现状,泰国财政部已要求国家电动汽车政策委员会修改相关规定,要求电动汽车制造商每两个月提交一份补偿生产计划,若企业未能遵守,政府有权暂停补贴发放。这意味着,哪吒汽车已从泰国政府获得超20亿泰铢(约合人民币4.38亿元)的补贴,剩余4亿泰铢补贴将被暂停支付。
(大众新闻记者 李振兴 )
责任编辑:王子睿
