三只松鼠回应员工入职要改鼠名,其已注册多个松鼠老爹商标
大众报业·齐鲁壹点 2025-11-25 11:14:06
近日,有网友发帖称,在入职三只松鼠后,员工会将自己的名字改为“鼠某某”。此事引发公众关注。
11月24日,三只松鼠工作人员回应称,公司确实有以“鼠”字作为名字前缀的文化,“这是我们企业内部的一种文化,感觉更亲切、可爱一些,也突出我们的品牌特色,并不是强制规定的”。

该网友发布的照片显示,在一次分销会上,每个座位都摆放着以“鼠”字开头的名牌。此外,网友还展示了三只松鼠党委名单,上面的姓名也均以“鼠”字开头。记者尝试联系发帖网友,但未获得回应。

图/网络截图
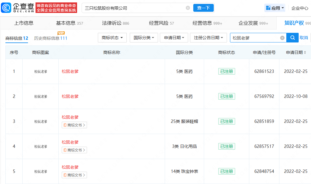
企查查APP显示,三只松鼠股份有限公司成立于2012年2月,法定代表人为章燎源,注册资本约4亿元,由章燎源、NICE GROWTH LIMITED、安徽燎原投资管理有限公司等共同持股。章燎源为公司创始人,并担任董事长、总经理、董事职务,在公司中叫松鼠老爹。企查查显示,三只松鼠已申请注册多个松鼠老爹商标,国际分类包括医药、服装鞋帽等。
财务报告显示,今年前三季度,三只松鼠实现营业收入77.59亿元,同比增长8.22%,实现归属于上市公司股东的净利润为1.61亿元,同比下降52.91%。



(齐鲁晚报·齐鲁壹点客户端编辑 武秀英 综合企查查、经视直播)
责任编辑:武秀英
