济南国资挂牌转让国宏物流51%股权,公司近期零营收
公司观 | 2026-03-03 13:48:03
微信扫码扫码下载客户端
3月2日,济南国宏物流有限公司(下称“国宏物流”)51%股权在山东产权交易中心正式挂牌转让,转让方为济南国开惠商股权投资基金合伙企业(有限合伙),实际控制人为济南市国资委。

国宏物流成立于2020年7月,注册资本10万元,法定代表人刘雷,经营范围包括国内货物运输代理、建筑用钢筋产品销售、水泥制品销售、轮胎销售、汽车零配件零售、建筑材料销售、金属矿石销售、机械设备租赁、机械设备销售、电子产品销售等。

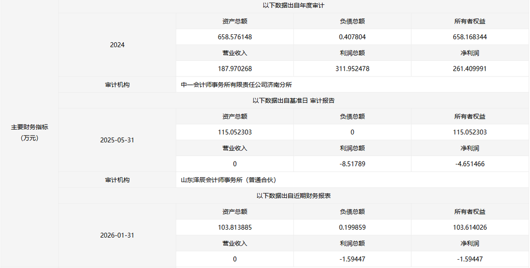
财务数据显示,国宏物流2024年实现营业收入187.97万元,净利润为261.41万元;2025年前5月,公司营业收入为0元,净利润为-4.65万元;2026年1月公司营业收入仍为0元。截至2026年1月31日,国宏物流资产总额为103.81万元,负债总额0.20万元,净利润为-1.59万元。
股权穿透显示,济南国开惠商股权投资基金合伙企业(有限合伙)、济南瀚海供应链管理合伙企业(有限合伙)分别持有国宏物流51%、49%的股权。
转让方济南国开惠商股权投资基金合伙企业(有限合伙)成立于2020年6月,出资额1.4亿元,由济南国开股权投资基金管理有限公司担任执行事务合伙人。4名合伙人——济南市投资控股集团有限公司、济南国舜投资管理有限公司、济南国企改革发展基金(有限合伙)、济南国开股权投资基金管理有限公司出资比例分别为35.71%、35%、28.57%、0.71%。
从对外投资布局看,济南国开惠商股权投资基金合伙企业(有限合伙)投资领域集中在金融、交通运输、仓储、批发和零售业。其投资的存续控股子公司有两家,除了国宏物流,还有于2022年7月成立的山东舜源经贸发展有限公司。
(大众新闻·经济导报记者 初磊)
责任编辑:徐松丽
