山东绿能股权变更!山东发展集团退出,子公司接盘40%股权
公司观 | 2026-03-09 08:39:49 原创
于婉凝来源:大众新闻·经济导报
微信扫码扫码下载客户端
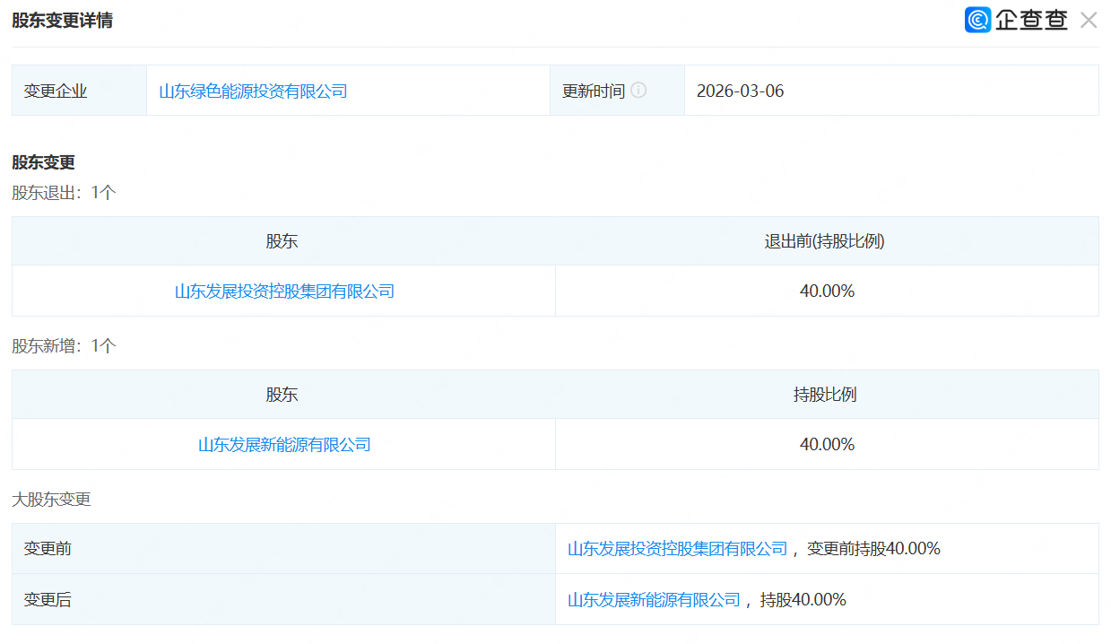
近日,企查查工商信息显示,山东绿色能源投资有限公司(下称“山东绿色能源投资”)大股东发生变更,原持股比例40%的山东发展投资控股集团有限公司 (下称“山东发展集团”)退出,其全资子公司山东发展新能源有限公司新增入股,持股比例40%。

资料显示,山东发展集团于2025年1月由原山东国惠与原山东发展战略重组设立,定位于发展战略性新兴产业、支持全省基础设施建设、推进新型工业化和服务绿色低碳高质量发展的国有资本投资公司,主业涵盖现代产业和新兴产业投资运营、基础设施投资运营、授权国有股权和基金管理、科创产业园区建设运营。截至2025年6月底,其注册资本447.5亿元,资产总额2385亿元,净资产1415亿元。

山东绿色能源投资成立于2019年10月,由山东发展集团联合国家能源投资集团旗下国华能源投资有限公司、国家电投集团山东能源发展有限公司按4:3:3的股权比例共同设立,注册资本金40亿元,聚焦新能源领域投资开发。主要业务涵盖外电入鲁、风电、光伏发电、智能电网及储能、综合能源利用等新能源产业,以及电力营销、科技创新等新兴业务。
山东发展新能源有限公司是山东发展集团全资控股的子公司,致力于新能源产业投融资和资本运营,重点参与陆上、海上风力发电、太阳能发电、水力发电等清洁能源和智能电网、储能等新能源产业项目投资。
值得一提的是,此次股东变更未改变山东绿色能源投资的最终实际控制人,企查查股权穿透后,该公司实控人仍为国务院国资委。
(大众新闻·经济导报记者 于婉凝)
责任编辑:吴淑娟
