青州城投多次成为被执行人,短期债务资金缺口超20亿元
产经观察 | 2026-03-16 12:50:26
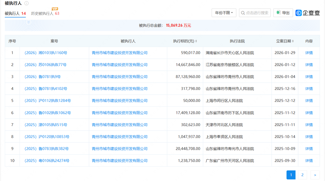
日前,据企查查提供的信息显示,青州市城市建设投资开发有限公司(以下简称“青州城投”)多次成为被执行人,且被法院限制高消费。该公司现存14条被执行人信息,被执行总金额约1.51亿元;公司及其法定代表人、董事长、总经理张奥琪15次被法院限制高消费,涉案总金额279.90 万元。

此前,青州城投还曾被法院列入失信被执行人名单。2025年9月份,东方金诚国际信用评估有限公司发布公告称,截至2025年8月27日,青州城投存在3条失信被执行人记录,执行金额合计约211.12万元,案由为借款纠纷,失信被执行人行为具体情形为“有履行能力而拒不履行生效法律文书确定义务”。
公开资料显示,青州城投成立于2006年5月,由青州市基础设施建设投资中心以货币形式出资成立,初始注册资本和实收资本均为0.36亿元。截至2024年末,该公司注册资本和实收资本均为1.20亿元,青州城建投资集团持有该公司100.00%的股权。该公司作为青州市重要的基础设施建设主体,主要从事青州市范围内的土地开发整理、基础设施建设及砂石销售等业务。
2025年半年报披露,截至2025年6月末,青州城投的短期借款余额为2.37亿元,一年内到期的非流动负债为20.28亿元,公司短期债务余额合计高达22.65亿元。而同期该公司的货币资金余额仅为2.45亿元,资金缺口约20.20亿元。
值得注意的是,该公司短期偿债压力较大。截至2025年6月末,青州城投的货币资金中受限制货币资金余额合计2.18亿元。这意味着上述同期青州城投可使用的货币资金余额仅为0.27亿元,相比该公司22.65亿元的短期债务规模来说,可谓“杯水车薪”。
据了解,除短期债务外,青州城投还背负着近30亿元的长期债务。2025年半年报披露,截至2025年6月末,青州城投的长期借款余额为18.00亿元,应付债券为9.76亿元,长期应付款为26.38亿元。
数据显示,青州城投2025年上半年实现营业总收入3.52亿元,实现净利润1.18亿元。而近年来青州城投的营收和利润双双呈现下滑趋势。2021~2024年,该公司分别实现营业收入16.14亿元、15.62亿元、14.95亿元、12.59亿元,分别实现净利润2.65亿元、2.53亿元、2.19亿元、2.05亿元。
责任编辑:曲昂
