潍坊滨海投资股东变更,年内涉执行超千万、欠税逾百万
公司观 | 2026-03-18 09:10:36 原创
微信扫码扫码下载客户端
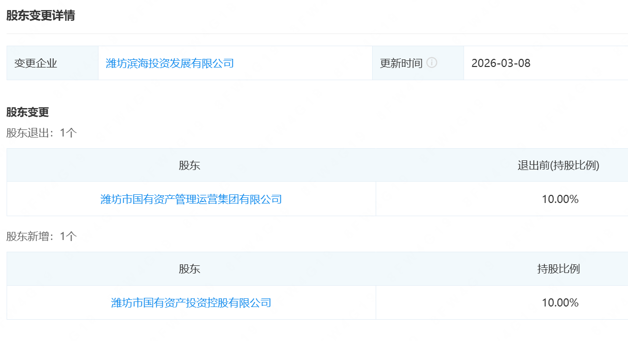
企查查显示,潍坊滨海投资发展有限公司(下称“滨海投资”)股东近日发生变更,潍坊市国有资产管理运营集团有限公司(下称“潍坊市国资管理集团”)退出,退出前持股比例为10%,该部分股权由潍坊市国有资产投资控股有限公司(下称“潍坊国投”)接手。

滨海投资成立于2005年8月,注册资本20亿元,法定代表人为白玉东。公司是潍坊滨海经济技术开发区国有资产经营和投融资实体,承担着区域内的基础设施建设、土地开发整理、房地产开发等职能,实控人为潍坊市国资委。
股权结构显示,除潍坊国投外,潍坊市海洋投资集团有限公司、潍坊滨城投资开发有限公司、潍坊市投资集团有限公司分别直接持有滨海投资50.81%、20.00%、19.19%的股权。
据企查查,目前,滨海投资控制了潍坊宸升新能源有限公司、潍坊滨海蓝海水务发展有限公司、潍坊滨海海安置业有限公司、潍坊滨海区海智文旅产业发展有限公司、潍坊产城供应链管理有限公司等30余家企业。
经济导报记者注意到,2026年以来,滨海投资多次被潍坊市潍坊滨海经济技术开发区人民法院列为被执行人,执行标的合计为1164.74万元;国家税务总局山东省税务局-潍坊1月26日发布公告,滨海投资城市维护建设税、土地增值税、印花税欠税余额分别约32.86万元、146.95万元、4.70万元。
(大众新闻·经济导报记者 贾义航)
责任编辑:吴淑娟
