华海保险烟台中心支公司被法院立案执行,公司2025年第四季度净利润跌破30万元
产经观察 | 2026-03-18 16:03:59
日前,华海财产保险股份有限公司 (以下简称“华海保险”)一家分支机构被法院列入被执行人名单。该公司烟台中心支公司被莱阳市人民法院立案执行,执行标的14.35万元,立案时间为2026年3月6日。

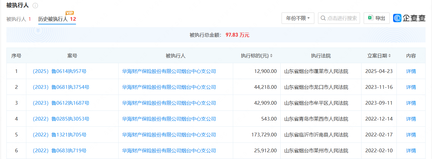
企查查显示,华海保险烟台中心支公司现存历史被执行人信息12条,被执行总金额97.83 万元。据了解,该公司上述12起被执行案件中包括多起车险理赔案件引发的诉讼纠纷,华海保险烟台中心支公司因拒不履行生效法律文书确定义务多次被法院立案执行。

公开资料显示,华海保险成立于2014年12月份,注册资本12亿元,总部位于烟台。截至目前,该公司仅获准开设山东、青岛、河南3家省级分公司。对于经营区域被监管部门严格限制的华海保险来说,其“大本营”烟台当地的分支机构具有十分重要的战略地位,象征意义十足。
从人事变更看,华海保险现任山东分公司总经理胡国栋、山东分公司副总经理姜锋、青岛分公司副总经理路峰等多名省级分公司高管,均曾担任过该公司烟台中心支公司负责人。华海保险烟台中心支公司在该公司系统内的特殊地位,由此可见一斑。
而就是这么一家“大本营”所在地举足轻重的分支机构,却诉讼缠身。据企查查提供的信息显示,华海保险烟台中心支公司现存司法案件1347件,其中,该公司作为原告的案件数量占比仅为11.4%,案件数量154件;而该公司作为被告的案件数量占比却高达84.8%,案件数量1142件。从案由看,该公司车险理赔纠纷案件数量多达981件,占比高达72.8%。

此外,华海保险烟台中心支公司现存立案信息747条,其中,该公司作为原告的立案信息仅55条,占比仅7.4%;而该公司作为被告的立案信息却多达591条,占比接近80%。该公司现有开庭公告1296条,其中,该公司作为原告的立案信息仅153条,占比11.8%;而该公司作为被告的立案信息却多达1120条,占比超过86%。
据偿付能力报告披露,华海保险的主要业务为车险,其2025年度实现车险签单保费19.35亿元,在总签单保费21.83亿元中占比接近九成,这与该公司宣称的“海洋保险”特色定位极不相符。
经营业绩方面,华海保险2025年实现保险业务收入22.43亿元,实现净利润0.32亿元。值得注意的是,华海保险2025年第四季度的净利润仅为29.46万元,较第三季度的1365.20万元下降1335.74万元,跌幅达97.84%;该季度的保险业务收入为5.58亿元,较第三季度的6.25亿元缩水0.67亿元,降幅为10.72%。
从效益类指标来看,华海保险2025年度的综合成本率为103.22 %,其中,综合费用率为42.60%,综合赔付率为60.62%。
公开资料显示,综合成本率是衡量保险公司承保业务盈利能力的关键指标,低于100%表示承保盈利,高于100%表示承保亏损。
由此可见,华海保险承保业务出现较大亏损。根据该公司2025年度的签单保费21.83亿元计算,该公司2025年度的承保业务亏损额约为7030万元。
(山东财经网)
责任编辑:曲昂
