山东医药集团要退出日照这家亏损子公司
公司观 | 2026-03-20 13:10:00
3月20日,山东省医药集团日照医疗器械有限公司(下称“日照医疗器械”)100%国有股权及72.05万元债权在山东产权交易中心挂牌转让,转让底价417.04万元,转让方为山东省医药集团有限公司(下称“山东医药集团”)。

转让信息显示,日照医疗器械成立于2018年,注册资本300万元,法定代表人阚兴超,经营范围包括第三类医疗器械经营、第一类医疗器械销售、第二类医疗器械销售、专用化学产品销售(不含危险化学品)等。
从财务状况看,2025年前9个月,日照医疗器械的营业收入、利润总额、净利润分别为823.66万元、-139.51万元和-143.1万元。今年前两个月,公司上述经营指标分别为62.82万元、-19.34万元和-19.34万元。
截至2026年2月28日,日照医疗器械的资产总额、负债总额、所有者权益分别为1127.16万元、654.7万元和472.46万元。
本次转让底价417.04万元,其中股权挂牌344.99万元、债权挂牌72.05万元。其中,山东省医药集团日照医药有限公司享有债权金额57.96万元、山东医药集团享有债权金额14.09万元,山东省医药集团日照医药有限公司委托山东医药集团一并收回以上债权。若形成竞价,溢价部分为股权金额溢价。此外,截至2026年3月9日,日照医疗器械有一笔450万元的银行借款,借款期限自2026年3月6日至2027年3月1日,未设置抵质押。
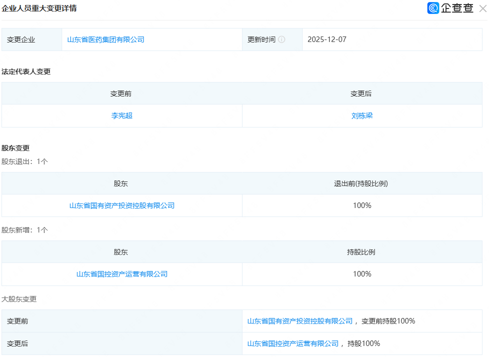
山东医药集团成立于2003年,注册资本3.14亿元,注册地为山东省济南市,法定代表人为刘栋梁,经营范围包括医疗器械、医药产品技术研究(不含医疗器械、医药产品的生产和销售)及信息咨询服务、医疗器械及医用车辆展览等。
公开信息显示,山东医药集团长期聚焦药械批发、零售及健康产业投资,拥有“益寿堂”“真诚大药房”“齐天药店”等医药零售连锁品牌,是山东省医药供应保障体系的骨干企业。


企查查显示,2025年12月,山东医药集团股东变更:原全资股东山东省国有资产投资控股有限公司已退出,由山东省国控资产运营有限公司接棒,公司主要成员同步调整。
(大众新闻·经济导报记者 刘勇)
责任编辑:徐松丽
