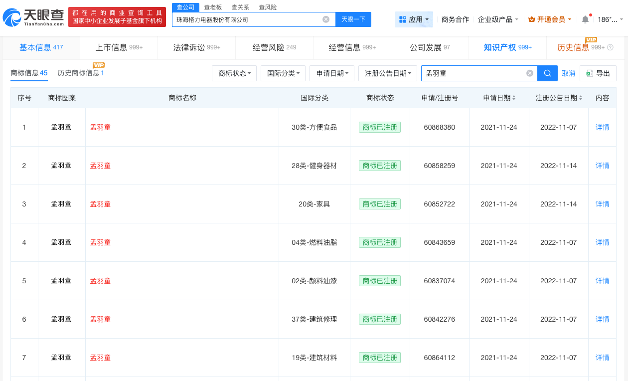
近日,孟羽童参加综艺《初入职场》再度提及在格力的工作经历,相关话题引发热议。天眼查知识产权信息显示,格力电器已成功注册多枚“孟羽童”“明珠羽童”商标,国际分类包括方便食品、健身器材、家具等。(天眼查)
格力电器仍持有多枚孟羽童相关商标天眼查 2026-03-20 16:30:00近日,孟羽童参加综艺《初入职场》再度提及在格力的工作经历,相关话题引发热议。天眼查知识产权信息显示,格力电器已成功注册多枚“孟羽童”“明珠羽童”商标,国际分类包括方便食品、健身器材、家具等。(天眼查)责任编辑:王雪婷