蒙阴城投被立案执行3833万元,票据持续逾期融资渠道受限
产经观察 | 2026-03-25 18:27:05
微信扫码扫码下载客户端
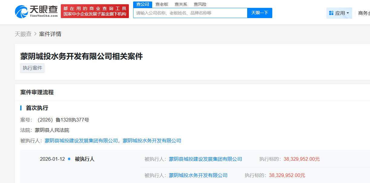
近期,蒙阴县城投建设发展集团有限公司(以下简称“蒙阴城投”)首次被法院立案执行事件引发广泛关注。该公司被蒙阴县人民法院列入被执行人名单,执行标的约3833万元,立案时间为2026年1月12日。

据了解,这是蒙阴城投第一次成为被执行人,该公司现存历史被执行人信息0条。
天眼查显示,蒙阴城投本次被执行案件的被执行人共有2名,分别为蒙阴城投执行标的约3833万元,蒙阴城投水务开发有限公司 (以下简称“蒙阴城投水务公司”)执行标的约3833万元。

天眼查显示,蒙阴城投水务 公司此前是蒙阴城投的全资子公司。今年3月11日,蒙阴城投清仓蒙阴城投水务 公司全部股权,不再持有其股份。

值得注意的是,蒙阴城投还面临严重的票据逾期问题。据上海票据交易所网站显示,蒙阴城投已发生票据持续逾期。
据了解,票据持续逾期是指承兑人6个月内发生3次以上承兑人逾期。根据相关规定,商业汇票承兑人最近2年发生持续逾期的,上海票据交易所将暂停为其提供商业汇票承兑服务,暂停为其承兑的票据提供贴现、质押和保证服务。这意味着蒙阴城投未来的融资渠道将进一步受到限制。


据上海票据交易所网站披露,截至2月28日,蒙阴城投的票据承兑余额为0元,累计承兑发生额为0元;票据逾期余额为0元,累计逾期发生额高达3.05亿元。

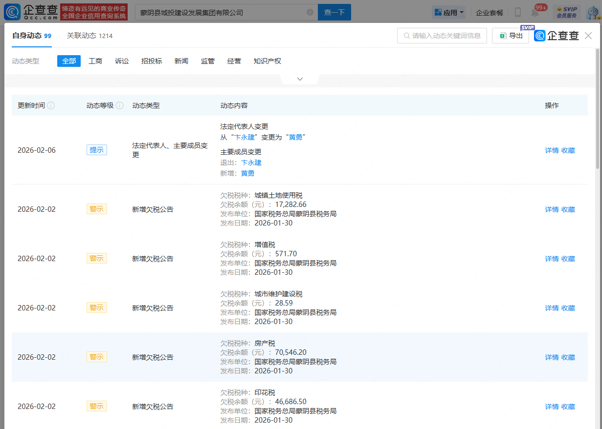
公开资料显示,今年1月30日,蒙阴城投新增5条欠税公告。其中,城镇土地使用税欠税余额为17282.66元,房产税欠税余额为70546.20元,城市维护建设税欠税余额为28.59元,增值税欠税余额为571.70元,印花税欠税余额为46686.50元。
(山东财经网报道组)
责任编辑:曲昂
