“老头乐”因三项外观专利起诉小米汽车,其公司仅7项专利,无外观专利
大众报业·齐鲁壹点 2026-03-26 10:58:53
据深圳商报报道,一家仅有20名员工的“老头乐”生产商(山东燕鲁新能源)对小米汽车3件外观专利提起了无效宣告请求,涉及后保险杠、前保险杠及前大灯,这些设计或正是小米SU7、YU7的关键特征,并于今日(3月26日)进入现场口审阶段。
国家知识产权局官网公布的专利无效口审信息显示,有3件小米汽车的外观设计专利被提起了无效。
小米汽车被申请无效的这3件专利分别是——后保险杠(申请号/专利号2023300280286)、前保险杠(申请号/专利号2023300278040)、前大灯(申请号/专利号2023300276401)。
经对比专利图和小米汽车产品图,3件涉案专利的设计方案,可能都用在了小米汽车主力产品SU7、YU7上。

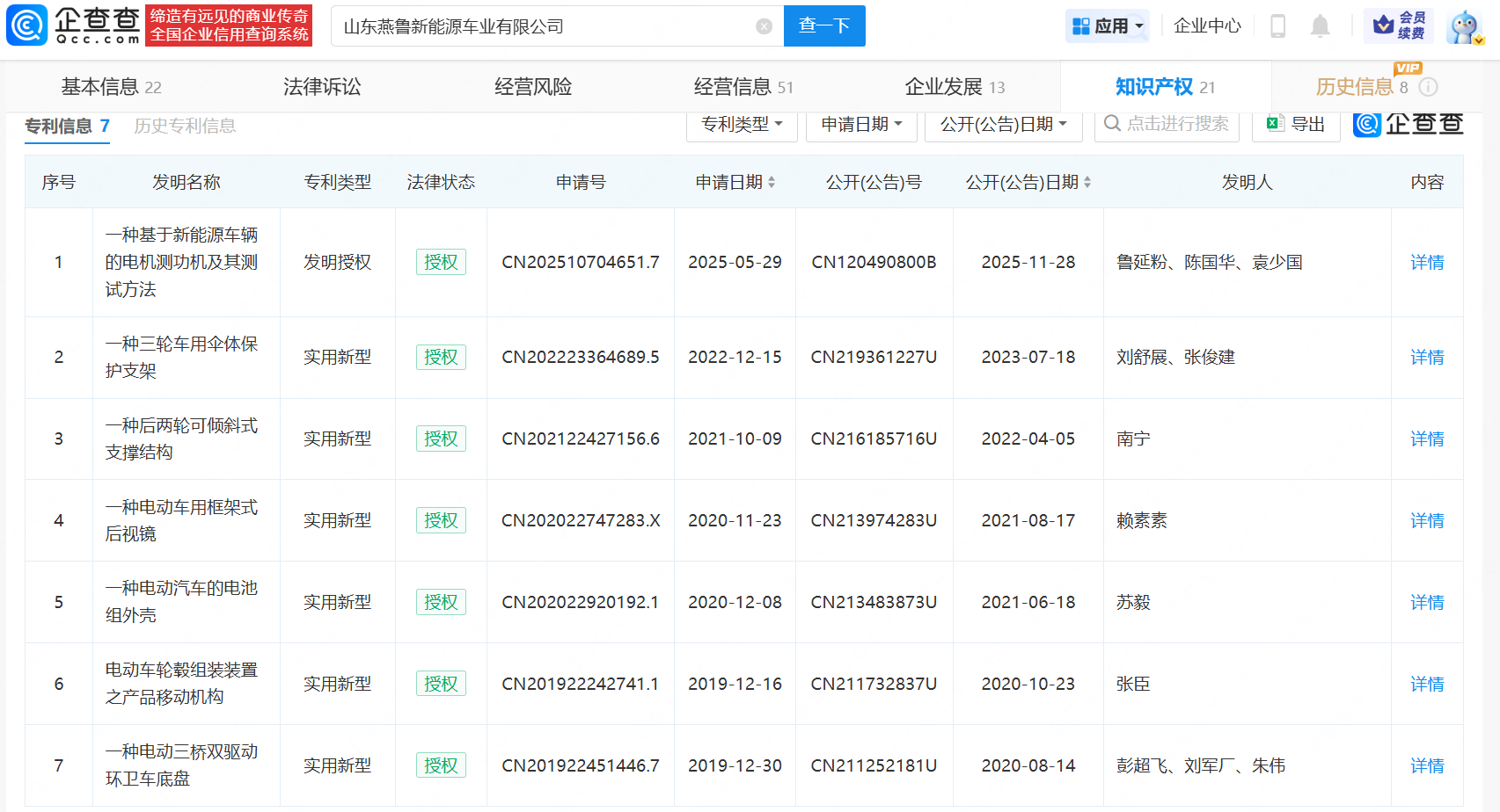
企查查APP显示,山东燕鲁新能源车业有限公司成立于2020年10月,注册资本1000万元,法定代表人为娄某,属于个人独资企业。经营范围包含一般项目:汽车零部件及配件制造、新能源汽车整车销售等;许可项目:道路机动车辆生产。值得关注的是,该企业目前拥有7项专利信息,其中6项为实用新型专利,1项为发明授权专利,无外观专利。

(齐鲁晚报·齐鲁壹点客户端编辑 石卉 综合深圳商报、企查查等等)
责任编辑:石卉
