高管离任+股权解冻+预亏超1.2亿,东方海洋何去何从?
公司观 | 2026-04-02 08:10:27 原创
石潇懿来源:大众新闻·经济导报
高管到龄离任、3年冻结股权即将解封,东方海洋(002086.SZ)近期人事与资本层面动作频频。
经济导报记者梳理公告发现,继2024年归属净利润亏损1.90亿元之后,东方海洋2025年度业绩预告显示,预计全年仍将亏损1.26亿—1.69亿元,连续两年业绩承压,经营拐点何时出现仍未明朗。
副总经理及海洋事业部总裁辞职
3月31日,东方海洋公告称,公司副总经理兼海洋事业部总裁唐积玉因达到法定退休年龄,辞去所任全部职务。

公开履历显示,唐积玉出生于1965年6月,中共党员,本科学历,拥有近40年水产行业从业与企业管理经验。其早年曾任山东省烟台市水产供销公司团委副书记、办公室主任、进出口部部长、总经理助理等职;加入东方海洋后,历任公司标准化管理部部长、监事、副总经理,烟台山海食品有限公司总经理等多个核心岗位,2012年起出任公司副总经理,至今已在公司核心管理层任职14年,是公司海洋食品传统主业发展的核心管理人员之一。
东方海洋2024年年报披露,唐积玉2024年从公司获得的税前薪酬总额为24万元。截至其离任公告披露日,其未持有东方海洋股份。
预计2025年亏损超1.2亿
东方海洋此前披露的2025年度业绩预告显示,公司预计2025年实现营业收入3.5亿至3.7亿元,同比小幅增长;预计归属于上市公司股东的净利润亏损1.26亿至1.69亿元,亏损额同比收窄;扣除非经常性损益后的净利润预计亏损1.42亿至1.85亿元,亏损额收窄。

从最新股权结构看,东方海洋控股股东为五矿金通股权投资基金管理有限公司旗下金通东洋私募股权投资基金,其持股比例达18.26%。2023年,东方海洋进入破产重整程序,该股东携13.54亿元重整资金入局,集中清理公司历史债务包袱,成为公司第一大股东。
深圳前海国元私募证券基金管理有限公司为东方海洋第二大股东。2025年9月至2026年2月,其完成多轮减持,累计套现约3.3亿元。截至2026年2月末,其持股比例已从5%以上降至4.99999%,并在此后进一步降至3.82%。烟台市正大城市建设发展有限公司、山高(烟台)辰星投资中心(有限合伙)分列公司第三、第四大股东,持股比例分别为3.43%、2.70%。

东方海洋成立于2001年12月,于2006年11月在深交所上市,注册地址位于烟台市莱山区,注册资本为19.59亿元,法定代表人为刘洪涛。公司主营业务包括海水苗种研发繁育、海洋牧场生态养殖、水产食品加工、保税仓储物流和精准医疗五大领域。
将迎来一笔股权解冻
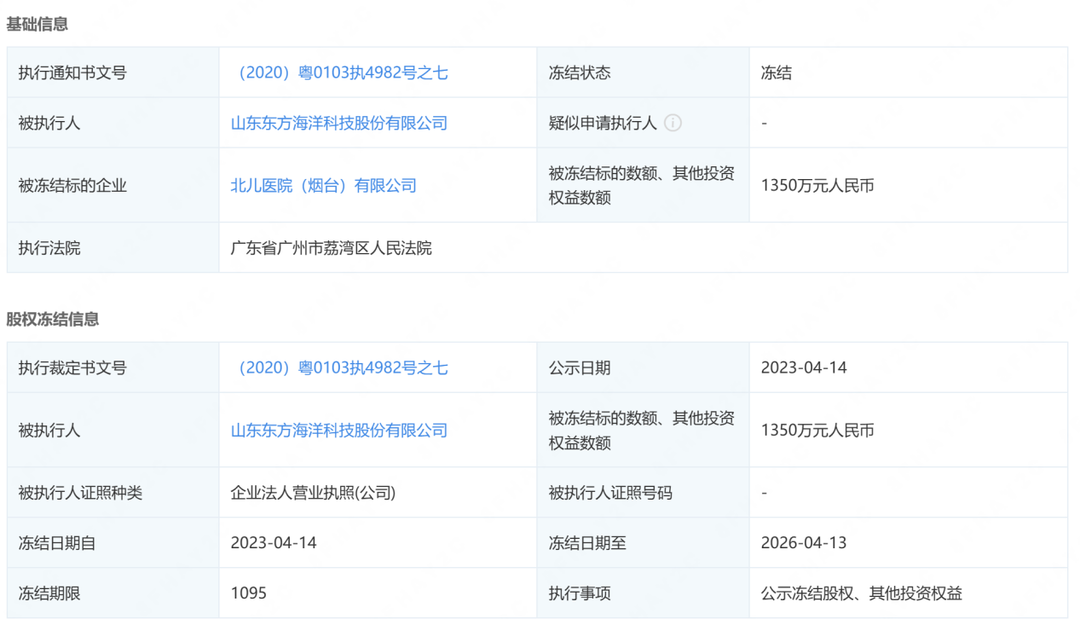
近日,经济导报记者注意到,东方海洋所持北儿医院(烟台)有限公司的1350万元股权权益,即将于4月13日正式到期解冻。

司法公示信息显示,该笔股权冻结的执行裁定书文号、执行通知书文号均为(2020)粤0103执4982号之七,执行法院为广东省广州市荔湾区人民法院,被执行主体为东方海洋,被冻结标的为公司持有的北儿医院(烟台)有限公司的投资权益,冻结标的数额为1350万元。
该笔股权冻结的公示日期为2023年4月14日,冻结起始日与公示日一致,冻结到期日为2026年4月13日,冻结期限共计1095天,对应完整的三年司法冻结有效期,执行事项为公示冻结股权、其他投资权益。截至发稿,暂无相关续冻法律文书的公示信息。
监管文件披露,东方海洋原实控人车轼在任职期间存在巨额非经营性资金占用和大规模违规对外担保等违规行为。2018年起,车轼通过关联方、第三方周转等隐蔽方式,以“预付款”“往来款”等名义挪用上市公司资金,北儿医院(烟台)有限公司也被牵连其中,相关资金被违规用于原控股股东体外债务偿还及非上市业务。同时,车轼未经公司董事会、股东大会审议,擅自以上市公司名义为其控制的关联方提供巨额担保,原控股股东经营恶化后,债权人起诉东方海洋要求承担连带清偿责任,这也成为该笔股权冻结的重要诱因。
公开资料显示,北儿医院(烟台)有限公司是东方海洋大健康业务板块的重要布局主体,也是公司从传统海洋产业向医疗健康领域延伸的核心载体之一。本次被冻结的1350万元股权权益,对应东方海洋对该医院的实缴出资份额,是公司在该标的企业的核心持股权益。
截至发稿,东方海洋尚未就该笔股权即将到期解冻事项发布专项公告。
(大众新闻·经济导报记者 石潇懿)
责任编辑:徐松丽
