广东华兴银行1.28亿股股权六折甩卖,连续两年未分红
产经观察 | 2026-04-01 15:42:38
日前,广东华兴银行1.28亿股股权被摆上拍卖台,每股均价降至1.06元的历史低点,与其评估价1.90元/股相比,降价幅度超过40%。

据阿里资产司法拍卖平台显示,广东华兴银行两笔数量分别为3000万股、9800万股的股权正在变卖,当前价分别为3192万元、1.04亿元,每股均价分别为1.06元、1.06元。

据了解,广东华兴银行上述2笔股权的持有人为上海升龙投资集团有限公司(以下简称“升龙投资”),上述1.28亿股股权已被司法冻结,由福州市中级人民法院依法处置。评估报告显示,升龙投资持有的广东华兴银行39050万股股权的评估价值为74195万元,每股均价1.90元。该行股权的变卖价仅相当于其评估价的55.79%,即折价不到六折变卖。

公开资料显示,升龙投资目前位居广东华兴银行第二大股东席位,持股数量10亿股,持股比例12.50%。


据中国执行信息公开网提供的信息显示,升龙投资目前已成为失信被执行人,该公司现存5条失信被执行人记录,涉案总金额1630.66万元,失信被执行人行为具体情形为“有履行能力而拒不履行生效法律文书确定义务”、“违反财产报告制度”,被执行人的履行情况为“全部未履行”。

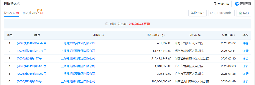
天眼查显示,升龙投资现存19条被执行人记录, 被执行总金额高达26.53亿元。该公司现存13条终本案件信息,执行标的总金额6.66亿元,未履行总金额 6.66亿元,未履行比例100%。

值得注意的是,广东华兴银行上述2笔正在变卖的股权此前已两次流拍。2025年11月,该行9800万股股权首次上架拍卖,起拍价1.30亿元,本场拍卖因“无人出价”而流拍。今年1月,该笔股权第二次拍卖,起拍价降至1.04亿元,较首次拍卖降价2606.80万元,降幅为20%。即便如此,本场拍卖仍旧因“无人出价”而流拍。

广东华兴银行另外一笔3000万股的股权也出现了同样的情形。2025年11月,该笔股权首次上架拍卖,起拍价3990万元,本场拍卖因“无人出价”而流拍。今年1月,该笔股权第二次拍卖,起拍价降至3192万元,较首次拍卖降价798万元,降幅为20%。即便如此,本场拍卖仍旧因“无人出价”而流拍。

记者注意到,广东华兴银行的股权出现严重贬值现象。2023年12月,该行3000万股股权被郑州市中级人民法院司法拍卖,起拍价为 7522.50万元,每股均价约2.51元。如今该行股价每股变卖均价已降至1.06元,该行股权价值两年间下降1.45元,降幅接近60%。

据了解,广东华兴银行第三大股东勤诚达控股有限公司 目前也成为失信被执行人,该股东持有的该行全部股份(8亿股)已多次被司法冻结。2025年10月,该股东被深圳市龙岗区人民法院列入失信被执行人名单,涉案总金额 6.14万元,失信被执行人行为具体情形为“其他规避执行”,被执行人的履行情况为“全部未履行”,立案日期为2025年10月20日。

截至目前,广东华兴银行尚未公布2025年报。此前,该行2023年度和2024年度连续两年出现“营利双降”现象。在业绩下滑压力下,广东华兴银行连续两年未向股东分红。该行2024年报称,“本年度本行未向股东进行利润分配,2023年度本行未向股东进行利润分配。”
(山东财经网报道组)
责任编辑:曲昂
