烟台毓璜顶医院成被执行人,因医疗损害被起诉多次
产经观察 | 2026-04-02 17:25:54

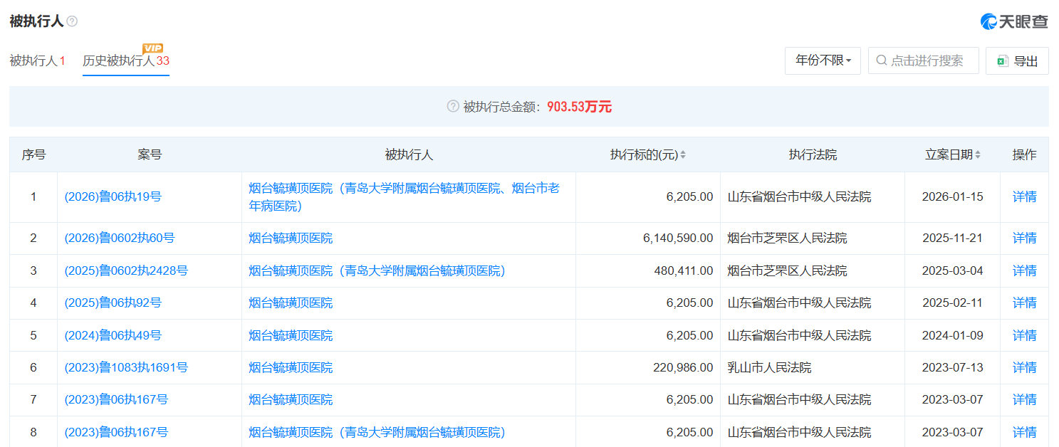
近期,烟台毓璜顶医院(青岛大学附属烟台毓璜顶医院)被烟台市芝罘区人民法院列入被执行人名单,执行标的为614.06万元,立案时间为2025年11月21日,案号为(2026)鲁0602执60号。

据了解,这并非烟台毓璜顶医院首次成为被执行人。天眼查显示,烟台毓璜顶医院现存历史被执行人记录多达33条,被执行总金额903.53万元。其中,该院最近一次成为被执行人的立案日期为2026年1月15日,执行标的为6205元。

天眼查显示,烟台毓璜顶医院现存司法案件391件,其中,该院作为原告的司法案件数量为57件,占比仅为14.58%;该院作为被告的司法案件数量为324件,占比高达82.86%。

从案由看,烟台毓璜顶医院的上述司法案件中,医疗损害责任纠纷案件数量为216件,在全部案由中排名第一,占比高达55.24%;其次为医疗服务合同纠纷案件,数量为40件;再次为医疗损害案件,数量为25件。
据官网介绍, 烟台毓璜顶医院现为烟台市最大的综合性医疗保健中心、三级甲等综合医院,同时也是青岛大学的附属医院。该院建筑面积49.8万平方米,编制床位4000张,设有75个临床科室、19个医技科室,在岗职工6400余人。
此前,烟台毓璜顶医院因“不执行政府指导价”被烟台市市场监督管理局处以罚没款合计101.82万元处罚。2025年6月份,该院被查获“在开展医疗服务过程中部分医疗服务项目未执行政府指导价”的违法违规行为,被处以没收多收价款8.45万元、罚款93.37万元处罚。
此外,烟台毓璜顶医院原副院长于国平因贪腐已“落马”。2019年7月份,招远市检察院发布消息称,该院对于国平提起公诉。经查,2006年至2018年期间,被告人于国平在担任烟台毓璜顶医院副院长期间,利用其职务上的便利及其职权或者地位形成的便利条件,通过其他国家工作人员职务上的行为,在药品配送、销售,人事考录、职务晋升等方面为他人提供帮助,非法收受他人财物共计480余万元。
责任编辑:曲昂
