华海保险一名董事成失信被执行人,卷入民间借贷纠纷被执行1.8亿元
产经观察 | 2026-04-13 17:32:44
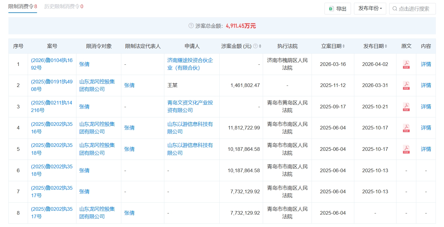
日前,华海财产保险股份有限公司(以下简称“华海保险”)董事张倩被法院列入失信被执行人名单。张倩现存3条被执行人记录,被执行总金额高达1.87亿元;8次被法院限制高消费,涉案总金额4911.45万元;其中,涉及2起民间借贷纠纷案件。张倩实际控制的两家企业,一家被法院列入失信被执行人名单,另一家则被法院立案执行410万元。

3月30日,张倩被济南市槐荫区人民法院列入失信被执行人名单,失信被执行人行为具体情形为“违反财产报告制度”,被执行人的履行情况为“全部未履行”,立案时间为2026年3月16日。

据了解,张倩已多次成为被执行人。天眼查显示,张倩现存3条被执行人记录,被执行总金额高达1.87亿元。张倩还有5条历史被执行人记录,被执行总金额2203.96万元。
4月2日,济南市槐荫区人民法院出具的限制消费令显示,该院3月16日立案执行申请人济南 某 投资合伙企业(有限合伙) 申请执行张倩民间借贷纠纷一案,因张倩未按执行通知书指定的期间履行生效法律文书确定的给付义务,该院对张倩采取限制消费措施。如张倩违反限制消费令,经查证属实,法院将依照相关规定对其罚款、拘留;情节严重构成犯罪的,依法追究其刑事责任。

截至目前,张倩已8次被法院限制高消费,涉案总金额4911.45万元。其中,涉及2起民间借贷纠纷案件,因张倩和山东龙冈控股集团有限公司 未按执行通知书指定的期间履行生效法律文书确定的给付义务,分别被青岛市市南区人民法院和济南市槐荫区人民法院采取限制消费措施。

此外,张倩还存在2条终本案件信息,被执行标的总金额1792万元,未履行总金额1792万元,未履行比例高达100%。
据华海保险偿付能力报告披露,张倩,女,1984年生,本科学历。张倩近年来曾任莒南天马岛旅游发展有限公司副总经理,2015年7月1日起任华海保险董事。目前,张倩的华海保险董事任期已超过十年。

公开资料显示,张倩现任两家企业的法定代表人。其中,张倩直接持有山东龙冈控股集团有限公司 95%的股份,为该公司的实际控制人。3月31日,该 公司 被济南高新技术产业开发区人民法院列入失信被执行人名单,涉案总金额146.18万元,失信被执行人行为具体情形为“其他规避执行”,被执行人的履行情况为“全部未履行”。

而张倩实际控制的另一家企业山东龙昊投资管理有限公司 也已成为被执行人。今年1月9日,该公司被莒南县人民法院立案执行,执行标的410万元。
公开资料显示,华海保险成立于2014年12月,注册资本12亿元,总部位于烟台。截至目前,该公司仅获准开设山东、青岛、河南3家分公司。该公司2025年实现保险业务收入22.43亿元,实现净利润0.32亿元。值得注意的是,该公司2025年第四季度的净利润仅为29.46万元,较第三季度的1365.20万元下降1335.74万元,跌幅达97.84%。该公司2025年度的综合成本率为103.22 %,承保业务持续处于亏损状态。
(山东财经网)
责任编辑:曲昂
