万达地产被执行1元

企查查    2026-04-17 15:42:38

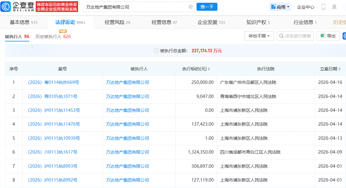
企查查APP显示,近日,万达地产集团有限公司新增一条被执行信息,执行标的1元,执行法院为上海市浦东新区人民法院。

企查查显示,万达地产集团有限公司成立于2018年2月,法定代表人为刘诗文,风险信息显示,该公司目前关联多条被执行信息,被执行总金额超20亿元,同时,公司已多次被列为失信被执行人,并被限制高消费。

(企查查)

责任编辑:武秀英