阿里官方发布神秘海报 低调申请“千问小酒窝”商标
大众报业·齐鲁壹点 2026-04-21 15:35:55
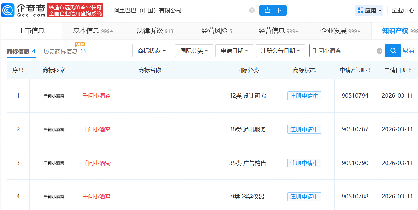
企查查APP显示,阿里巴巴(中国)有限公司近期申请多枚“千问小酒窝”的商标,涉及 AI、人形机器人等多个领域。
就在4月20日,阿里集团官方账号发布了一幅神秘海报,文案只有“4月22日见”,画面中是一位酒窝特征明显的女性形象。

同日有网友爆料,阿里巴巴总部园区出现了一张巨幅海报。海报上一位扎着丸子头的女孩回眸一笑,露出两个酒窝,可爱又清新,旁边写着4月22日见,左上角还标着阿里巴巴的logo。

企查查显示,阿里“千问小酒窝”商标涵盖第9类(科学仪器)、第35类(广告销售)、第38类(通讯服务)以及第42类(设计研究)共 4 个国际商标分类。其中,已申请项目包括人工智能即服务(AIaaS)、模拟对话用聊天机器人软件、科学研究用具有人工智能的人形机器人、辅助人类和供人娱乐用具有交流和学习功能的类人机器人等,目前商标状态均为“注册申请中”。

据悉,自 3月16日 Alibaba Token Hub (ATH) 事业群成立以来,阿里在 AI 领域动作不断,一个月内连续发布视频模型 HappyHorse、世界模型 HappyOyster,以及 AI 开发工具Meoo(秒悟)等多款产品。
(齐鲁晚报·齐鲁壹点客户端编辑 张宝帆综合阿里巴巴官方账号、企查查、公开信息等)
责任编辑:张宝帆
