爱奇艺纳逗Pro艺人库引热议,其AI选角相关专利公布
企查查 2026-04-22 10:37:55
近期,爱奇艺推出的影视制作AI智能体平台纳逗Pro引发热议,该平台下的纳逗Pro艺人库可便于其在创作中遴选艺人,并通过爱奇艺与艺人方高效沟通合作细节。
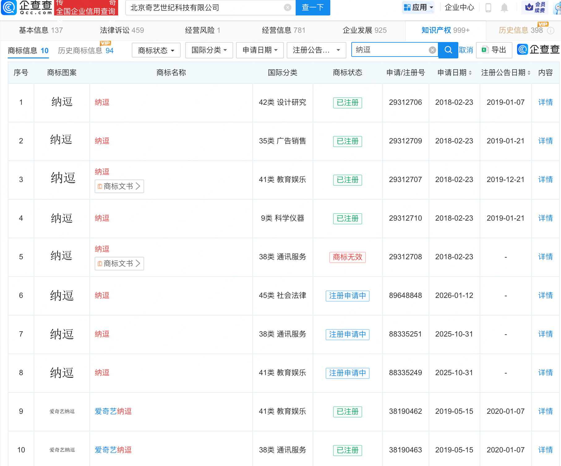
企查查APP显示,爱奇艺关联公司北京奇艺世纪科技有限公司已成功注册“爱奇艺纳逗”、“纳逗”商标,国际分类涉及教育娱乐、通讯服务等。

此外,4月21日,该公司公布“角色建议模型的训练方法及演员组合的确定方法”专利,该方法包括:获取角色组合中的第一演员和待确定演员的第二影视角色;在演员关系评价库中确定与第一演员存在关联关系的演员集合;基于影视作品中角色组合对应的剧本片段,构建画像特征、剧本上下文特征;获取演员表演第二影视角色时期望的表演效果;将剧本片段、画像特征、剧本上下文特征和表演效果输入角色建议模型,生成目标选角建议信息;将演员集合中的演员信息与目标选角建议信息进行匹配度的确定;根据匹配度确定目标演员。

(企查查)
责任编辑:张宝帆
