东鹏特饮0糖是商标
企查查 2026-04-22 16:58:30
4月22日,“全糖的写0脂,全脂的写0糖”相关话题登上热搜。
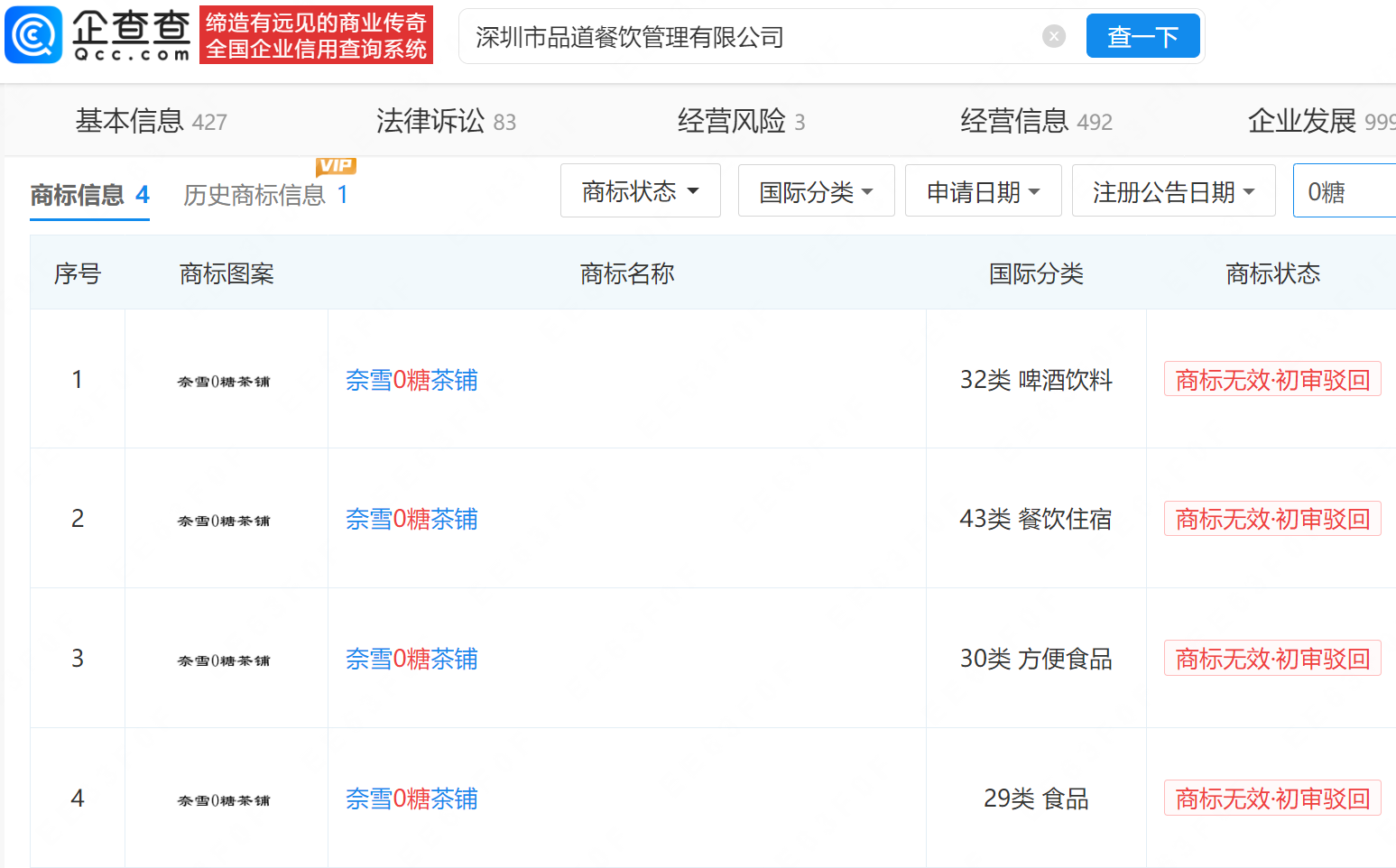
企查查APP显示,多个知名品牌曾申请注册0糖相关商标,蒙牛曾申请“0 糖鲜果”、“0 糖鲜果 0 SUGAR FRESH FRUIT”商标,奈雪的茶曾申请多枚“奈雪0糖茶铺”商标,均被驳回。


此外,东鹏饮料(集团)股份有限公司已申请注册多枚“东鹏0糖”、“东鹏0糖特饮”、“0糖特饮”商标,国际分类涉及啤酒饮料、运输工具、健身器材等,目前部分商标已注册成功。


(企查查)
责任编辑:张宝帆
