苹果公司申请苹果智家商标

企查查    2025-02-14 14:23:47

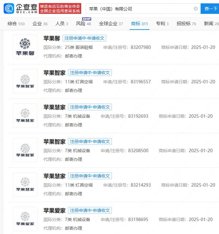
企查查APP显示,近日,苹果(中国)有限公司申请注册多枚苹果智家、苹果慧家、苹果爱家、苹果花等商标,国际分类涉及服装鞋帽、灯具空调、机械设备等,当前商标状态为注册申请中。资料显示,苹果(中国)有限公司由美国苹果集团全资持股。


(企查查)

责任编辑:王雪婷